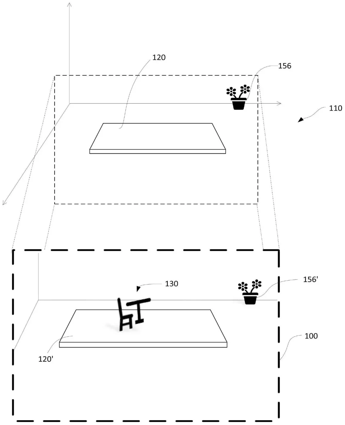
3月3日下午消息 天眼查App顯示,蘋果公司“用于對象的三維預覽的設備、方法和圖形用戶界面”專利公布。該專利在三維環境中能夠讓人看到一個三維預覽并且能與二維內容同時展現,可與同一空間的虛擬對象進行交互。

來源:天眼查

來源:天眼查

來源:天眼查
摘要顯示,本公開在電子設備處在三維環境中可以生成并且呈現內容的三維預覽,內容的該三維預覽可與在該三維環境中呈現的內容生成環境中的該內容的二維表示同時呈現。當在該三維環境中呈現內容的該三維預覽時,可以提供一個或多個示能表示用于與該三維預覽的一個或多個計算機生成的虛擬對象進行交互,該一個或多個示能表示可以與該三維環境中的內容的該三維預覽一起顯示。
文章內容僅供閱讀,不構成投資建議,請謹慎對待。投資者據此操作,風險自擔。
海報生成中...
海藝AI的模型系統在國際市場上廣受好評,目前站內累計模型數超過80萬個,涵蓋寫實、二次元、插畫、設計、攝影、風格化圖像等多類型應用場景,基本覆蓋所有主流創作風格。
IDC今日發布的《全球智能家居清潔機器人設備市場季度跟蹤報告,2025年第二季度》顯示,上半年全球智能家居清潔機器人市場出貨1,2萬臺,同比增長33%,顯示出品類強勁的市場需求。