如果你經常一個人開車,與你交流最頻繁的可能就是眼前的儀表盤。
現在的儀表盤,開始取消以往的機械指針式設計,開始用數字的形式將車輛信息來傳遞的駕駛者。雖然少了以往的“汽油味”,但整體顯示邏輯也更加合理,而且還有余地顯示娛樂信息。
翻看儀表盤的設計歷史,升級理念基本都是信息趨于豐富,獲取方式更加便利,但人機交互設計的主動權還是在車企手中,即便直接取消儀表盤的激進派特斯拉也是如此。
但這一次,以沉穩聞名的大眾汽車選擇當一次激進派,直接讓用戶參與到儀表盤的設計當中。
用戶的手機和平板就是儀表盤
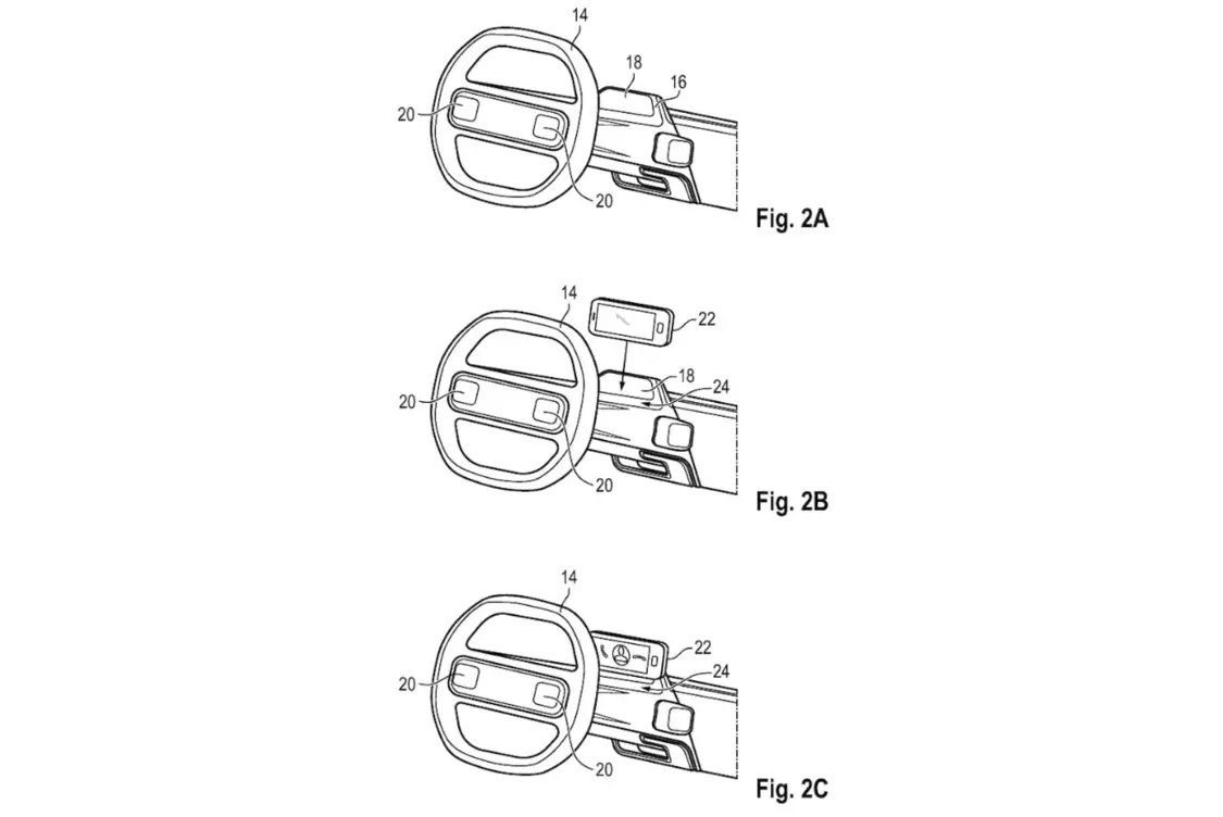
近日,大眾汽車向德國專利和商標局提交了一份專利,表示在原有的儀表盤位置,可支持放置一個尺寸更大的裝備,比如智能手機,甚至是平板電腦,讓你的移動設備直接變成可拆卸“顯示屏”。

(圖源:德國專利和商標局)
大眾表示,可拆卸顯示屏只要用來處理導航、媒體控制等信息,用戶只需要下載指定APP,通過藍牙、網絡等方式與車輛實現交互。可能是為了避免信息傳遞之間存在時間差,像車速、能耗、故障燈等基本駕駛信息,會在另一塊不可移動的基礎屏上顯示。
在小通(ID:dianchetong233)看來,用手機當作儀表盤帶來最直觀的好處就是,軟件體驗可以一直緊跟時代需求,諸如顯示方式的主題化、手機上自帶的高刷新率和高顯示質感都可以輕松實現,這些都是當下車機儀表盤難以做到的一點。
不可否認,利用軟件可持續升級迭代的優勢確實可以保證用戶的觀感,但大眾汽車可能忽略了一點,用移動設備來當作儀表盤會存在一定的安全隱患。
多花錢事小,增加安全隱患事大
從大眾汽車的專利圖來看,可拆卸儀表盤還是設置在“老位置”,上手難度并不高。不過,廠商將移動設備的尺寸越做越大,暫且不說平面電腦和折疊屏手機,直屏手機的屏幕尺寸都已經直逼7英寸,專利圖上的方向盤的鏤空面積仍然不夠大。

(圖源:德國專利和商標局)
為了讓車主更清楚地看到移動設備上的信息,大眾汽車可能需要采用上方鏤空面積更大的方向盤,甚至可能直接采用半幅式方向盤,這將會帶來額外的成本。
另外,如果手機或者平板只是起到傳統儀表盤的作用,那么“可拆卸儀表盤”就只剩下“可拆卸”這一無關緊要的特點,如果車機系統本身需要用到移動設備的生態,那還需要考慮車機的兼容性問題。
正所謂“牽一發而動全身”,設計是一門復雜的學問,僅僅做一處修改并不難,但往往需要花更多精力來修正其他bug。
對于大眾來說,設計上的事可能都是小事,但如何固定移動設備可是一件非常嚴肅的事,總不能因為一個剎車或轉彎就讓手機掉地上吧。
小通暫未在專利文件上找到關于移動設備位置的固定方式,專利圖上只顯示一個簡單的底座支撐,并沒有提供太多信息。如果按照當下固定設備的套路,小通猜測大眾可能會采用以下三種方法。
首先,要想固定不同尺寸的手機以及平板,機械支架的兼容性會相對更高。
這就有點像用戶自行購買支架放手機用來看導航信息的感覺。但老司機們都知道,支架會有物理限位,看起來也不美觀,而且時間長了接口處還可能會松動,顯然這并不是一個很好的解決方式。
第二種就是像大疆云臺相機一樣提供充電接口,手機需要用的時候直接插上就行,但這樣無法兼顧到不同尺寸的移動設備。
搜索某寶許久,小通還找到另一種固定方式——磁吸貼片。這種固定方式非常容易上手,官方可以提供磁性更高的磁貼配件,就可以避免手機被甩掉的問題。

(圖源:淘寶截圖)
或許,大眾汽車可能還找到另外一種兼顧美觀性和可靠性的移動設備固定方式。但小通需要指出的是,不要讓移動設備成為第二個高田氣囊。
當年的高田氣囊就是因為在氣囊觸發爆炸時,過大的沖擊力將充氣機等裝置的金屬/塑料碎片射向駕駛員,最終造成全球范圍內多人重傷甚至死亡。
目前,車載顯示屏有一系列安全標準,確保通過玻璃防破碎/防飛濺、高低溫、濕度、耐刮擦、防眩光等測試。移動設備在設計之初并不會考慮用車場景,其抵抗強沖擊的能力遠低于車機,遇到極端情況時很有可能會對車內人員造成二次傷害。
一個可拆卸儀表盤,暴露了大眾的焦慮
如果要讓小通評價這個專利,總體來說弊大于利。當然,這畢竟只是一個專利而已,大眾或許不會選擇量產。
但也正因為這樣一個小小的專利,暴露大眾汽車亟需解決的問題——軟件。
可拆卸儀表盤最直觀的好處,也可能是唯一的好處就是確保軟件體驗,而當下的大眾汽車,在軟件表現上存在著不少現實問題。
CARIAD作為大眾汽車集團旗下負責軟件業務的子公司,本應為集團提供最根本的底層支持,但事實上并沒有達到集團的期望,甚至還對旗下子品牌的新車交付造成了嚴重影響。
大眾ID.系列純電動車曾因為軟件bug導致交付延期和召回,而且新車在國內上市后因為軟件問題被投訴的次數并不少;奧迪、保時捷旗下全新電動車的推出計劃被延遲到明年,奧迪新旗艦車型的推出時間改至2027年,比原計劃晚了足足三年。
數據顯示,CARIAD的軟件預算從一開始的70多億歐元提升至270億歐元,但根據大眾發布的2022年業績報告,CARIAD營收7.96億歐元,而經營虧損卻高達 20.68 億歐元,占據了整個集團在2022年利潤的10%左右。
虧得多,而且還沒有啥成就,只能不斷更替CARIAD的負責人,原來CARIAD的四人董事會僅剩下留下一人,如今由賓利董事會成員Peter Bosch出任CARIAD首席執行官,但能否幫助CARIAD順利走上正軌,目前暫未得知。
不過可以確信的是,越來越多車企開始愿意與科技企業合作,在軟件體驗上帶來更多新的驚喜。大眾現在才亡羊補牢,可能需要一段時間才能追趕上,但小通認為大眾大可不用太著急,軟件還沒有成為判斷勝負的唯一要素。以集團目前的技術積累和市場口碑,完全可以為集團持續輸血一段時間。
【來源:雷科技】
文章內容僅供閱讀,不構成投資建議,請謹慎對待。投資者據此操作,風險自擔。
海報生成中...
海藝AI的模型系統在國際市場上廣受好評,目前站內累計模型數超過80萬個,涵蓋寫實、二次元、插畫、設計、攝影、風格化圖像等多類型應用場景,基本覆蓋所有主流創作風格。
IDC今日發布的《全球智能家居清潔機器人設備市場季度跟蹤報告,2025年第二季度》顯示,上半年全球智能家居清潔機器人市場出貨1,2萬臺,同比增長33%,顯示出品類強勁的市場需求。